八零图社
首页
最新
热门
排行
首页
最新
热门
排行
自然风光
动漫卡通
美食摄影
科技数码
人物写真
创意设计
壁纸背景
游戏原画
首页
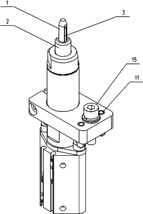
锁紧销结构图
图片详情
锁紧机构结构
0
浏览
0
喜欢
945x723
尺寸
2026-03-14 09:46:57
上传
查看原图
下载图片
图片链接
缩略图
原图
外链
专题
锁紧销结构图
相关图片
上锁销 上锁销作用孔 定位突檐 上锁销杆 防跳台 上防跳台 蝶形孔 锁
0
0
锁紧推拉式快卸销
0
0
球头锁紧销快卸销自锁安全销顶出式安全销blp12长4080
0
0
cn104358287b_锁紧销有效
0
0
一种锁紧销组件及其使用方法技术
0
0
日本原装进口正品米思米misumi球头锁紧销顶出式blp10-40
0
0
一种手柄式定位锁紧销的制作方法
0
0
一种带伸缩式定位销快速吊装锁紧机构
0
0
插销带弹簧锌合金设备门自动弹簧插销锁工业弹簧门销
0
0
cn106392440a_一种气动定位锁紧销钩机构有效
0
0
一种锁紧销
0
0
定做球头锁紧销顶出式blp快卸销快速锁销快拔销定位销销直径1012blpmi
0
0
随机推荐
【4岁 进阶版】《望天门山》唐诗-李白-天门中断楚江开
0
0
后背纹身男 男生后背上简单的神奇宝贝纹身图案
0
0
我说我@的这个人是sb,你们没意见吗?_sb_人是_意见表情
0
0
有时候不打扰不联系很爱的人是给爱一条生路
0
0
请问谁有beyond91年演唱会冷雨夜的bass谱子? 670636175
0
0
午时花怎么画最简单意思意思吧
0
0
喜庆红色裙子回门衣服出阁服平时可穿乐卉薄款酒红色无披肩中长款xxl
0
0
嗦碗粉先表情包 - 表情图
0
0
古风女生头像 今天又把压箱底的九尾狐拿出来 哪个最好看呢?
0
0
谁在支持杨烁?他顶风作案与刘涛绯闻不断!
0
0
铃木国四gsx250rabs
0
0
红木家具刺猬紫檀花梨木麻将桌椅组合棋牌桌中式实木餐桌四方桌
0
0