八零图社
首页
最新
热门
排行
首页
最新
热门
排行
自然风光
动漫卡通
美食摄影
科技数码
人物写真
创意设计
壁纸背景
游戏原画
首页
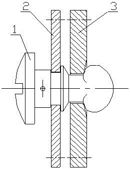
锁紧销结构图
图片详情
上锁销 上锁销作用孔 定位突檐 上锁销杆 防跳台 上防跳台 蝶形孔 锁
0
浏览
0
喜欢
1080x810
尺寸
2026-03-14 09:46:52
上传
查看原图
下载图片
图片链接
缩略图
原图
外链
专题
锁紧销结构图
相关图片
快卸销 按钮快锁插销 b型球头锁销 直径9/10 长10/15/20~100现货
0
0
cn101761539a_双重锁紧自动锁销有效
0
0
球头锁紧销快卸销自锁安全销顶出式安全销blp12长4080
0
0
cn104358287b_锁紧销有效
0
0
一种锁紧销组件及其使用方法技术
0
0
一种手柄式定位锁紧销的制作方法
0
0
一种带伸缩式定位销快速吊装锁紧机构
0
0
cn2128292y_窗用插销锁失效
0
0
插销带弹簧锌合金设备门自动弹簧插销锁工业弹簧门销
0
0
锁紧机构结构
0
0
背景技术:现在的插销一般都是手动结构,插销要锁紧或者要松开都要用手
0
0
定做球头锁紧销顶出式blp快卸销快速锁销快拔销定位销销直径1012blpmi
0
0
随机推荐
蒋忠军钢笔画景春韵焕发的民国老宅白塔巷13号
0
0
5.2成都星巢秘境音乐节-许巍《旅行》
0
0
白狐钢琴谱陈瑞c调流行钢琴五线谱
0
0
韩版修身小西装三件套男职业正装伴郎服装新郎结婚礼服西服套装男
0
0
孟非相伴几十年的妻子,原来是她,鲁豫都惊叹:简直太漂亮了!
0
0
来自韩国ins时尚博主nnino,她的穿衣风格,非常容易模仿,日常的穿搭,也
0
0
建筑简笔画风景画 简笔画图片大全-蒲城教育文学网
0
0
天蓝色
0
0
六指琴魔里的林青霞这么美,为何没人剪?
0
0
手握50万元现金是存银行吃利息还是拿来贷款买房你会怎么选
0
0
没有儿女双全很遗憾?幸福指数最高的组合,其实是这个
0
0
我热爱这户外徒步的旅程,因为它让我与"九水游览
0
0