八零图社
首页
最新
热门
排行
首页
最新
热门
排行
自然风光
动漫卡通
美食摄影
科技数码
人物写真
创意设计
壁纸背景
游戏原画
首页
马泉营奥特莱斯
图片详情
北京奥特莱斯马泉营店掠影
0
浏览
0
喜欢
800x450
尺寸
2026-03-13 23:41:12
上传
查看原图
下载图片
图片链接
缩略图
原图
外链
专题
马泉营奥特莱斯
相关图片
北京奥特莱斯马泉营店掠影
0
0
2月5日 我们第一次一起去马泉营赛特奥莱购物
0
0
北京奥特莱斯马泉营店掠影
0
0
朝阳马泉营 赛特奥莱 2019.03.16 【华为】
0
0
max mara(赛特奥特莱斯店)-"媳妇想买鞋,马泉营的奥特莱斯离我们这
0
0
北京奥特莱斯马泉营店掠影
0
0
马泉营,王府井奥特莱斯,欧洲小镇#北京马泉营赛特奥莱 #北京赛特奥莱
0
0
朝阳马泉营 赛特奥莱 2019.03.16 【华为】
0
0
联盛奥特莱斯-"买卡来消费的话真的非常划算哦."-大众点评移动版
0
0
朝阳马泉营 赛特奥莱 2019.03.16 【华为】
0
0
朝阳马泉营 赛特奥莱 2019.03.16 【华为】
0
0
资本跑马圈地,品牌竞相布局:奥特莱斯一夜爆火?
0
0
随机推荐
风光霁月高冷少年|古风动漫男头|男生头像 #画画的日常# #古风头像
0
0
小演说家夏令营
0
0
c罗曼联超清手机壁纸,欢迎大家转发收藏!_梦想_高清_背景图
0
0
小鸟简笔画
0
0
顶级音乐人张亚东:高圆圆手写情书瞿颖等他11年,半娱乐圈皆前任_王菲_
0
0
搞笑头像黄渤点击鼠标右键下载
0
0
粉色相思梅
0
0
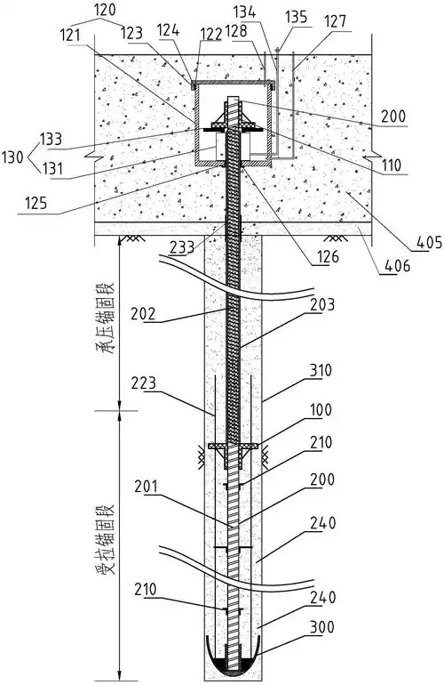
cn212641447u_一种预应力拉压复合型抗浮锚杆
0
0
46岁的朴树,他凭什么火了20多年?
0
0
唯美意境 #竹林
0
0
性感迷人动漫美女桌面壁纸,像花一样美丽的美女,甜美的笑容很是治愈
0
0
中国军民记忆:b7式作训服之演进
0
0