八零图社
首页
最新
热门
排行
首页
最新
热门
排行
自然风光
动漫卡通
美食摄影
科技数码
人物写真
创意设计
壁纸背景
游戏原画
首页
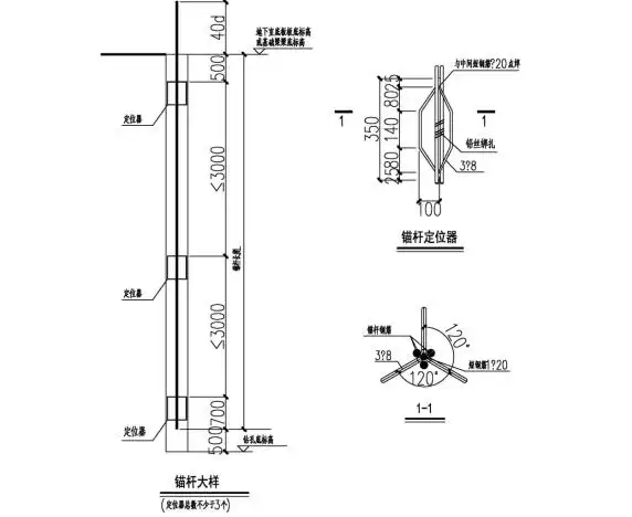
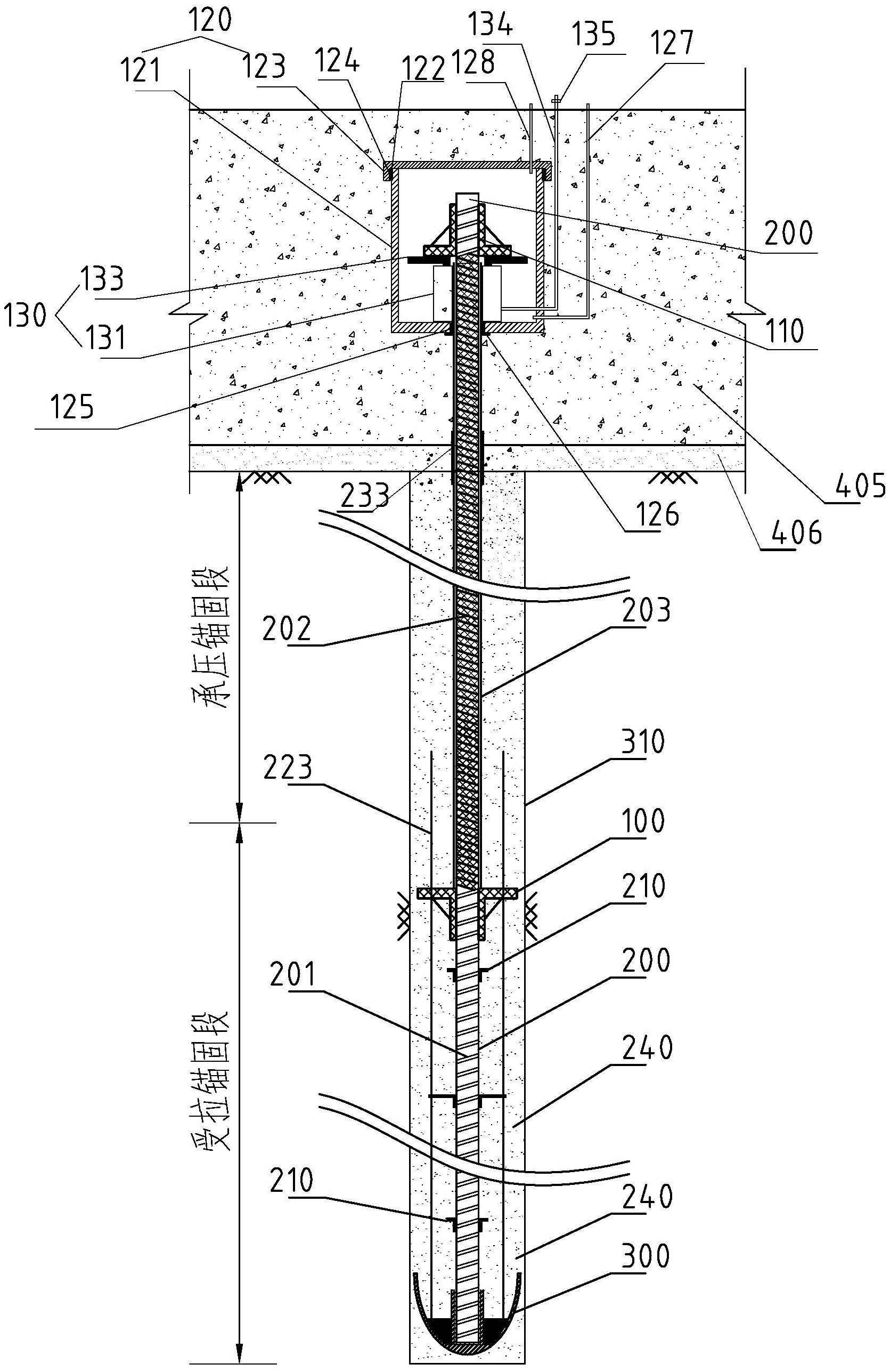
锚杆结构图
图片详情
cn212641447u_一种预应力拉压复合型抗浮锚杆
0
浏览
0
喜欢
1671x2574
尺寸
2026-03-13 22:57:33
上传
查看原图
下载图片
图片链接
缩略图
原图
外链
专题
锚杆结构图
相关图片
锚杆(索)的结构2
0
0
钻神技分享锚杆几大分类没弄清的收藏
0
0
锚杆结构示意图
0
0
供应中空锚杆|中空注浆锚杆|中空锚杆厂家
0
0
真空锚杆示意图
0
0
2)土层锚杆的分类土层锚杆可分为圆柱型,端部扩大头型和连续球体型
0
0
全粘结锚杆大样图
0
0
自进式中空锚杆在_类围岩洞挖的应用
0
0
今天小编带大家学习的是锚杆边坡防护常用的支护结构型式有:重力式挡
0
0
[贵州]锚杆及锚固抗滑桩深基坑边坡支护施工方案(附计算书 专家论证)
0
0
结构丨囊式锚杆探讨
0
0
8 预应力混凝土结构的一般知识ppt
0
0
随机推荐
清新大自然瀑布景观高清电脑桌面壁纸_风景壁纸_壁纸下载_美桌网
0
0
唐三不敢秀第六魂技,得知真实原因后,漫迷:是我也不敢
0
0
农用浇地水泵@300hw-8农用浇地水泵的妙用_电机
0
0
今日消息福建省新罗区暴雨预警关于福建龙岩新罗天气预报知识介绍
0
0
今年流行女服装图片-海量高清今年流行女服装图片大全 - 阿里巴巴
0
0
之前觉得土气的寸头又流行,马天宇和吴磊等人纷纷剪寸头,挺帅!
0
0
一个女生死了,3天后全班都收到了她的遗书
0
0
王心凌晒运动后素颜两宫格##王心凌晒运动日常两宫格
0
0
柠檬味手帐排版
0
0
1晚上 only climb &【恐怖游戏】abandoned souls & 双截龙:双龙出海
0
0
2/ 9中分发型最好搭配卷发虽然不像空气刘海那么减龄但却有利于气质的
0
0
【lovesong】马嘉祺1.31上海路演《十二月的奇迹》focus
0
0