八零图社
首页
最新
热门
排行
首页
最新
热门
排行
自然风光
动漫卡通
美食摄影
科技数码
人物写真
创意设计
壁纸背景
游戏原画
首页
研磨装置
图片详情
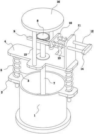
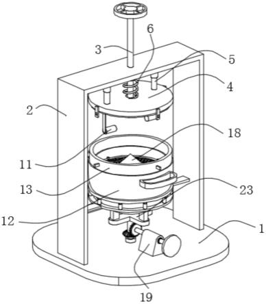
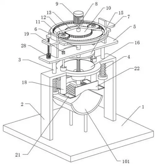
一种具有固定功能的药材加工用药学研磨装置的制作方法
0
浏览
0
喜欢
388x444
尺寸
2026-03-14 16:16:27
上传
查看原图
下载图片
图片链接
缩略图
原图
外链
专题
研磨装置
相关图片
bel-art微量液氮组织研磨器
0
0
04l实验室卧式砂磨机全智能超细纳米砂磨机研磨机
0
0
spice bottles price
0
0
一种石墨烯母料研磨加工装置的制作方法
0
0
一种医疗用药材研磨装置
0
0
cn108970687a_一种二甲苯磺酸催化剂研磨装置在审
0
0
一种多功能药物研磨装置
0
0
一种便携式中药研磨装置
0
0
一种化学实验用颗粒研磨装置的制作方法
0
0
用于晶圆加工的双面研磨装置
0
0
一种面粉加工用研磨装置的制作方法
0
0
一种农药加工用药粉研磨装置
0
0
随机推荐
手把手教你三款简单漂亮半扎发!
0
0
17岁以上的男生发型这样剪太帅了
0
0
十二星座守护神兽你知道是什么吗
0
0
[成都]空港国际办公商业社区城市设计
0
0
观光电梯专业施工图纸【43个cad】
0
0
时光为琥珀 - 堆糖,美图壁纸兴趣社区
0
0
明星·肖燕 青青.#宇宙的有趣我才不在意 可甜可酷可温柔 - 抖音
0
0
红色中国梦书法艺术字psd下载
0
0
女演员韩雪:戏里戏外都单纯直率的简单女子_角色_独立_明星
0
0
铃声壁纸鸭 | 一组炫酷的漫威超级英雄动态壁纸!
0
0
the world in 2020 2020年的世界
0
0
宝贝老板终于如愿以偿,拥有豪华办公室和黄金马桶
0
0