八零图社
首页
最新
热门
排行
首页
最新
热门
排行
自然风光
动漫卡通
美食摄影
科技数码
人物写真
创意设计
壁纸背景
游戏原画
首页
侯佩岑年轻时太美了
图片详情
侯佩岑年轻时真的是太漂亮了,清纯但感觉又很妩媚,难怪连天王周杰伦都
0
浏览
0
喜欢
1003x1280
尺寸
2026-03-13 20:03:30
上传
查看原图
下载图片
图片链接
缩略图
原图
外链
专题
侯佩岑年轻时太美了
相关图片
【侯佩岑】2003–2004年年代新闻台广告(持更)
0
0
侯佩岑 侯主播笑起来好美 #笑容最治愈的女孩 - 抖音
0
0
侯佩岑不愧是周杰伦前女友颜值真的不错梳奇葩的造型也挺美
0
0
侯佩岑 patty hou 生活照 #21
0
0
侯佩岑
0
0
侯佩岑写真图片-自制1200x1600壁纸.大图-明星写真馆n63.com
0
0
揭秘周杰伦前女友侯佩岑的家庭背景她的母亲竟然是闺蜜背叛者
0
0
侯佩岑
0
0
侯佩岑好优雅,穿素雅的服装也很有明星范,怪不得路人缘这么好
0
0
林月云的利己主义,造就侯佩岑的不安全感
0
0
侯佩岑
0
0
侯佩岑
0
0
随机推荐
原创11部tfboys出演的影视剧你看过哪几部哪部最香
0
0
二次元动漫男生头像
0
0
风水学结婚照放哪里好
0
0
关晓彤重新演绎"你叉叉",华晨宇在身后伴舞,两个字让关晓彤瞬间破功
0
0
夕阳山林景色高清图片
0
0
日照东夷小镇美食分享07
0
0
钓系男友,腹黑男神,天然反差,爱神降临;大雾散尽,张真源.
0
0
2021精选短卷发推荐50款
0
0
范.迪塞尔和巨石强森谁才是真正的好莱坞吸金大佬?作品说明一切
0
0
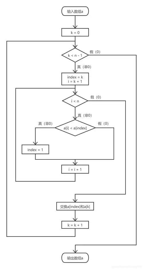
算法流程图
0
0
画画 #田柾国 069993
0
0
"轻量"登场 4款川崎250单缸车型导购
0
0