八零图社
首页
最新
热门
排行
首页
最新
热门
排行
自然风光
动漫卡通
美食摄影
科技数码
人物写真
创意设计
壁纸背景
游戏原画
首页
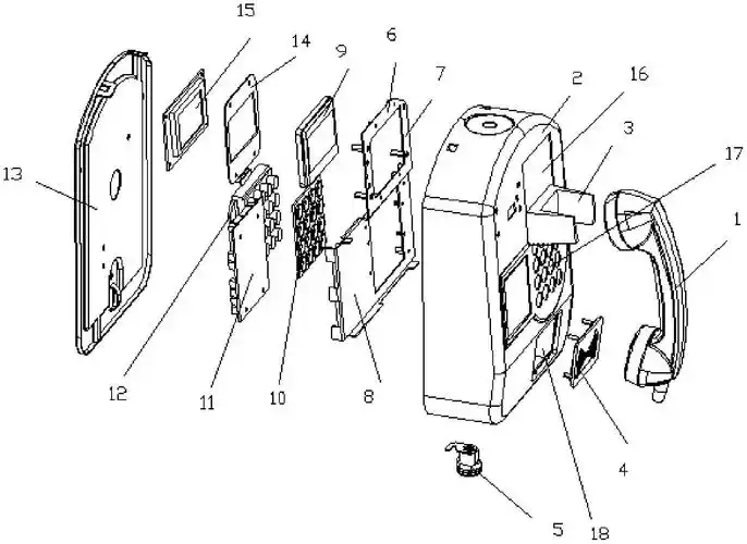
电话机的结构
图片详情
1-3 电话结构示意图
0
浏览
0
喜欢
650x618
尺寸
2026-03-13 03:53:03
上传
查看原图
下载图片
图片链接
缩略图
原图
外链
专题
电话机的结构
相关图片
bhh防爆电话-电话机-防爆通讯机-对讲机-乾弘防爆
0
0
一,电话 1,电话的结构 , 听筒的结构 听筒的结构 话筒的结构 话筒的
0
0
一种壁挂式校园电话机结构
0
0
深圳蓝牙双线电话厂家
0
0
中诺s007仿古电话机 座机 家用办公固定 时尚个性 来电彩色灯 - 通信
0
0
cdma无线座机ls981多功能办公电话机固定电话机批发无线固话
0
0
《现代顺风耳 电话》 课件(北师大版-八年级物理)ppt
0
0
同线电话机
0
0
国威这款专用电话机的
0
0
工业抗噪电话 抗噪扩音电话 ip工抗噪扩音电话
0
0
宝泰尔t121来电显示电话机 酒店 商务 办公家用座机 防号码删除
0
0
诺电话机中诺c168来电显示电话办公家用固定电话座机
0
0
随机推荐
演唱会现场图片
0
0
谢谢你,我们的爱.#抖音图文来了 #永远的偶像刘德华 #这样 - 抖音
0
0
勤奋成就人生ppt课件
0
0
2021新款梨花烫发型图集女神合适的烫卷头发造型
0
0
空白九宫格
0
0
极简办公室案例赏析【安徽山水精工装】_空间_自然光_的设计
0
0
刘烨,印小天,王刚,无一不是行业内佼佼者.
0
0
原创同是演乞丐周星驰用手抓饭刘德华睡大街杨颖是来搞笑的
0
0
6大女星嘟嘴卖萌,赵丽颖最萌?迪丽热巴最美?网友:只服邓紫琪
0
0
92伤感动漫男生头像集96
0
0
梁心颐与林俊逸深情演唱《珊瑚海》,动人演绎错爱的遗憾!
0
0
复原了两个版本的朱元璋画像你觉得哪个更接近本人
0
0