八零图社
首页
最新
热门
排行
首页
最新
热门
排行
自然风光
动漫卡通
美食摄影
科技数码
人物写真
创意设计
壁纸背景
游戏原画
首页
电话机的结构
图片详情
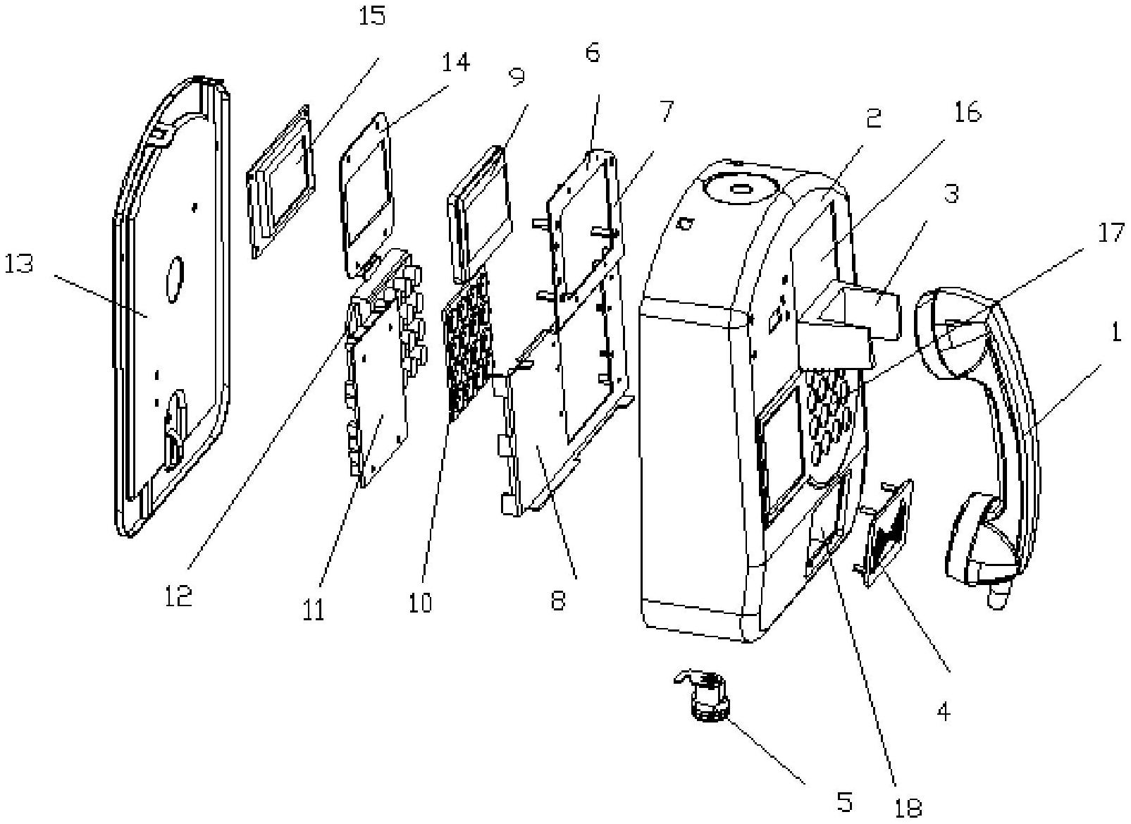
一种壁挂式校园电话机结构
0
浏览
0
喜欢
1605x1169
尺寸
2026-03-13 03:53:03
上传
查看原图
下载图片
图片链接
缩略图
原图
外链
专题
电话机的结构
相关图片
一,电话 1,电话的结构 , 听筒的结构 听筒的结构 话筒的结构 话筒的
0
0
深圳蓝牙双线电话厂家
0
0
中诺s007仿古电话机 座机 家用办公固定 时尚个性 来电彩色灯 - 通信
0
0
cdma无线座机ls981多功能办公电话机固定电话机批发无线固话
0
0
《现代顺风耳 电话》 课件(北师大版-八年级物理)ppt
0
0
呼叫中心耳麦套装 电话机 耳麦电话 客服电话 客服耳机 降噪图片_2
0
0
同线电话机
0
0
国威这款专用电话机的
0
0
cn2306615y_隐绳电话机失效
0
0
kth116矿用数字抗噪声本安电话机
0
0
宝泰尔t121来电显示电话机 酒店 商务 办公家用座机 防号码删除
0
0
欧式复古电话机座机家用老式仿古电话机固定无线插卡旋转客厅有线
0
0
随机推荐
台湾的日月潭
0
0
为什么素颜很丑也不化妆无非是因为这四点怪不得愿意难看
0
0
朴志效头像拿图点赞
0
0
贺峻霖多巴胺毛衣
0
0
国六12吨洒水车工作原理 东风12顿洒水车价格报价
0
0
魏大勋早期和女明星李念的拉手照片,两个人亲密无间酷似情侣,不知现任
0
0
70后女明星 - 抖音
0
0
00——陈伟霆2023生贺24h产粮企划——【生贺5p角色人物q版】星芒纷至
0
0
卡通可爱白色饭团免抠图
0
0
急性心肌梗死心电图梗死相关血管定位诊断ppt 心肌梗死心电图定位 v1
0
0
雨后彩虹
0
0
头像西游记
0
0