八零图社
首页
最新
热门
排行
首页
最新
热门
排行
自然风光
动漫卡通
美食摄影
科技数码
人物写真
创意设计
壁纸背景
游戏原画
首页
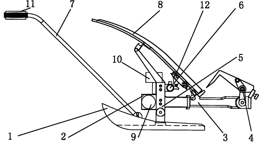
插秧机原理简图
图片详情
cn1099925a_摆臂式插秧机失效
0
浏览
0
喜欢
2592x1780
尺寸
2026-03-13 08:24:23
上传
查看原图
下载图片
图片链接
缩略图
原图
外链
专题
插秧机原理简图
相关图片
一种独轮乘坐式宽窄行水稻插秧机的制作方法
0
0
cn1713812a_插秧机有效
0
0
插秧机制造技术
0
0
cn201957435u_电动插秧机有效
0
0
该机工作原理如图2所示:插秧机作业时,发动机的动力通过过渡动力部件
0
0
插秧机及其插秧方法和插秧系统与流程
0
0
一种自动插秧机的制作方法
0
0
插秧机的制作方法
0
0
cn101773013a_手动式小型插秧机失效
0
0
一种小型无人水稻插秧机
0
0
机动两行插秧机的制作方法
0
0
cn201479583u_一种操纵杆式两轮驱动插秧机失效
0
0
随机推荐
伤感高冷女头侧脸头像,女生头像图片-回车桌面
0
0
1/ 12 2021年2月3日讯,赵丽颖一组写真曝光.
0
0
按照上面的方法,我们在画两只气球,与上面的形成一串,画法非常简单
0
0
谁说短发没女人味,夏天最新15款气质小女人短发!
0
0
杨鸣关心队员健康有多温柔#不允洗还有人没用上杨鸣的好运表情包
0
0
李宁cba全明星篮球袜子男中高筒球员版球袜毛巾底实战精英袜长袜
0
0
背旗等设计,元神中加入了中国传统神话形象;同时,哪吒李云祥,三太子
0
0
炫舞名片夹头像制作
0
0
力帆乐途7座mpv官方降价4000元358万起
0
0
原创兰州这所双非大学就业很稳当毕业生容易进国企500分可考
0
0
女友告诉男友她家在闹鬼,但是男友都不相信,直到他亲眼看见并拍下墙壁
0
0
一个人走路的伤感背影图片
0
0