八零图社
首页
最新
热门
排行
首页
最新
热门
排行
自然风光
动漫卡通
美食摄影
科技数码
人物写真
创意设计
壁纸背景
游戏原画
首页
彩色炫酷壁纸
图片详情
图案,方块,几何图形,彩色方块,图形,炫酷,壁纸彩色方块几何图形桌面
0
浏览
0
喜欢
1920x1080
尺寸
2026-03-11 22:23:01
上传
查看原图
下载图片
图片链接
缩略图
原图
外链
专题
彩色炫酷壁纸
相关图片
创意酷炫背景图1600x900分辨率下载,多彩创意酷炫背景图,图片,壁纸
0
0
彩色酷炫背景图片壁纸大全炫彩背景酷炫背景紫色背景黑色背景
0
0
图案,方块,几何图形,彩色方块,图形,炫酷,壁纸彩色方块几何图形桌面
0
0
炫酷色彩设计桌面壁纸
0
0
创意设计炫彩纹理炫酷高清壁纸
0
0
彩色高清壁纸800x600分辨率查看
0
0
梦幻紫酷炫跑车桌面壁纸
0
0
炫彩,效果,五彩效果,炫酷,壁纸五彩效果桌面壁纸
0
0
炫酷彩色线条电脑桌面壁纸
0
0
太空美妙的彩色空间高清桌面壁纸
0
0
创意设计炫彩纹理炫酷高清壁纸
0
0
炫酷彩色线条电脑桌面壁纸
0
0
随机推荐
【战疫一线】"新出道"女警封闭执勤初体验
0
0
周笔畅黑t格子衬衫叠穿短发利落眼妆凸显女人味
0
0
王子文和文颂娴穿着打扮后傻傻分不清谁跟谁
0
0
朝阳门义刺社纹身店
0
0
表示感谢朋友的话语
0
0
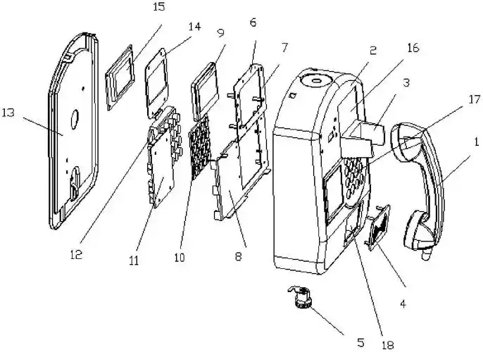
一种壁挂式校园电话机结构
0
0
猪用产床耐斯畜牧母猪分娩床热镀锌材质产床母猪产床
0
0
萌娃头像,可爱头像,卡通头像,情侣头像
0
0
matlab画三维图,各位帮帮忙!
0
0
10岁男孩怎么拍照
0
0
如何自拍才能获得高赞
0
0
2021已经过去了!谢谢家人们一路的支持与陪伴!希望家人们 - 抖音
0
0