八零图社
首页
最新
热门
排行
首页
最新
热门
排行
自然风光
动漫卡通
美食摄影
科技数码
人物写真
创意设计
壁纸背景
游戏原画
首页
大草原旅游
图片详情
呼伦贝尔旅游景点攻略一,呼伦贝尔大草原呼伦贝尔大草原位于内蒙古
0
浏览
0
喜欢
640x427
尺寸
2026-03-14 05:52:48
上传
查看原图
下载图片
图片链接
缩略图
原图
外链
专题
大草原旅游
相关图片
【若尔盖大草原风光系例之(2)摄影图片】风光旅游摄影_太平洋电脑网
0
0
确定性,像红原大草原雅克音乐季这样依然坚持举行的音乐节可谓是凤毛
0
0
呼伦贝尔大草原旅游攻略第一天
0
0
呼伦贝尔旅游包车黄师傅带您穿越大草原
0
0
苏泊罕大草原旅游景区以游牧文化.
0
0
四川阿坝红原大草原月亮湾夏季自然风光
0
0
呼伦贝尔草原太大,偌大的草原分布着不计其数的旅游景点,但是每个来
0
0
内蒙古热门旅游景点 呼伦贝尔大草原旅游攻略 低音号导游
0
0
呼伦贝尔旅行##呼伦贝尔大草原
0
0
内蒙草原旅游哪里好(内蒙草原旅游哪里好自驾游)
0
0
呼伦贝尔大草原在内蒙古哪座城市?
0
0
呼伦贝尔草原旅游中俄蒙三国风情小镇北疆明珠满洲里
0
0
随机推荐
了蒙古的回鹘蒙文,并用自己的西里尔字母为蒙古创建了一套新的蒙文,这
0
0
男人的手,男人手与孤立在白色背景上的棒棒糖
0
0
小宋喜欢刘梦和嘉,嘉
0
0
柯伯龙(中国内地男演员)
0
0
提供阿里历年的2月天气预报数据供用户参考,包括阿里2月份的最高气温
0
0
闺蜜购物逛街买东西插画
0
0
香蜜圆满收官邓伦和杨紫戏外撞衫网友直呼cp感太强
0
0
情侣款龙凤绣花中式红色嫁衣古装婚宴古风结婚礼服中国风1人付款168
0
0
央视春晚节目名额大致确定 冯巩相声剧已试演
0
0
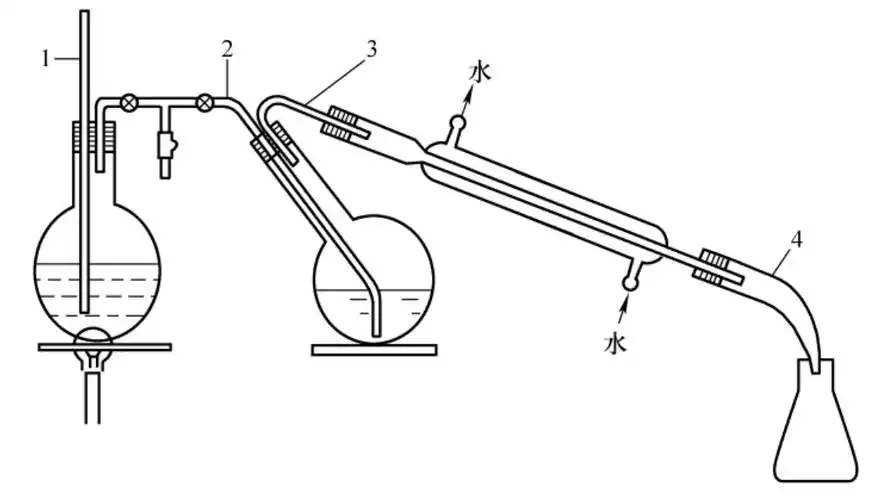
图3-30 常量水蒸气蒸馏装置示例(3)1—安全管;2—水蒸气导入管;3—水
0
0
奋发向上努力工作的好句子
0
0
创意小团队集体照
0
0