八零图社
首页
最新
热门
排行
首页
最新
热门
排行
自然风光
动漫卡通
美食摄影
科技数码
人物写真
创意设计
壁纸背景
游戏原画
首页
字体阴影 立体
图片详情
立体字阴影素材图片
0
浏览
0
喜欢
1024x683
尺寸
2026-03-13 05:35:39
上传
查看原图
下载图片
图片链接
缩略图
原图
外链
专题
字体阴影 立体
相关图片
3d粗砂阴影文字效果adobeillustrator
0
0
阴影字母字体模板
0
0
影子字体
0
0
无形暗夜28款影字体设计
0
0
有阴影字体图片
0
0
银灰色阴影立体字设计模板分层素材
0
0
阴影的手写字体
0
0
圆润质感长阴影效果立体字模板素材
0
0
剪影字体调整大小剪影怎么调字体大小2022已更新今日图集
0
0
字体文字带阴影,字
0
0
带阴影字母 d 3d 的灰色挤压轮廓字体
0
0
3d粗砂阴影文字效果adobeillustrator
0
0
随机推荐
祖海:音乐的力量 祖海是一位民谣女歌手,她的音乐充满了温暖和力量,她
0
0
纹身贴又土又low?怕是你没见过这样的
0
0
不潘姐姐仙气头像 5赞更 礼貌拿图 谢谢
0
0
fresh carrot in viet nam/ high quality/ sweet/ whatsapp 84-845
0
0
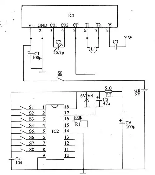
该无线遥控开关电路由无线
0
0
邓萃雯年轻时最美的照片,挡不住的风华绝代
0
0
陈晓杨过
0
0
人气男星杨洋最新帅气封面写真!
0
0
一汽红旗h5,新一代b级高级轿车,2018深港澳车展实拍!
0
0
原创奥运会一唱而红的林妙可和她的声替杨沛宜过得怎样了
0
0
有趣的灵魂个性搞怪男生头像
0
0