八零图社
首页
最新
热门
排行
首页
最新
热门
排行
自然风光
动漫卡通
美食摄影
科技数码
人物写真
创意设计
壁纸背景
游戏原画
首页
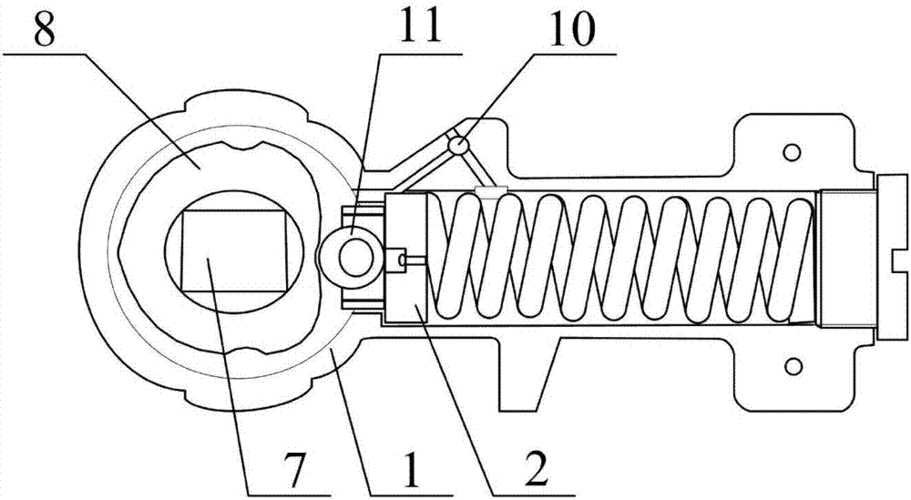
地弹簧拆解图
图片详情
gmt n-818 有框门 玻璃门地弹簧 带配件
0
浏览
0
喜欢
640x960
尺寸
2026-03-12 01:02:15
上传
查看原图
下载图片
图片链接
缩略图
原图
外链
专题
地弹簧拆解图
相关图片
玻璃门地弹簧构造图
0
0
德国多玛 bts65地弹簧 超薄设计 双向开启 多玛地弹簧
0
0
厂家供应钢化玻璃门木门液压地弹簧地轴自动门隐藏式180公斤
0
0
东莞地弹簧厂
0
0
一种新型的地弹簧的制作方法
0
0
地埋式平开门自动地弹簧的制作方法
0
0
供应超薄型地弹簧 crown原装皇冠地弹簧 g-322地弹簧100%【正品】
0
0
gmt h-220b地弹簧 玻璃门地弹簧
0
0
你知不知道玻璃门地弹簧维修的方法?
0
0
gmt-220-b地弹簧/铝合金/不锈钢/木门/带配件
0
0
多玛地弹簧bts80dorma地弹簧价格
0
0
百事达23液压地弹簧无框玻璃门
0
0
随机推荐
向日葵日落摄影风景4k高清壁纸
0
0
中国少将(中国少将军衔名单)
0
0
郑爽事件迎来大反转面对偷税50字充满自信这其中是否有内幕
0
0
警用短袖t恤套装
0
0
羽毛球活动,羽毛球活动.羽毛球拍和羽毛球特写和天空蓝色.
0
0
亚克力台卡加工银行餐厅收银台卡前台收款提示亚克力标识牌订做
0
0
刘宇宁开始推理吧
0
0
《小丈夫妻大姐》,慕钰华在剧中出演女一号李秋月
0
0
新年第一天就被刘诗诗美到了!穿高定裙秀天鹅颈,身材薄得像片纸
0
0
可爱小公鸡卡通动物
0
0
美式乡村实木楼梯定制新中式原木简欧别墅整体复式扶手楼梯订做
0
0
同样是人教版小学数学课本插图,为什么会出现倒行逆施的情况?
0
0