八零图社
首页
最新
热门
排行
首页
最新
热门
排行
自然风光
动漫卡通
美食摄影
科技数码
人物写真
创意设计
壁纸背景
游戏原画
首页
中国工农红军长征油画
图片详情
红军街上,一幅油画再现当年红军战士与粤北山区百姓的军民鱼水. .
0
浏览
0
喜欢
640x427
尺寸
2026-03-12 10:15:47
上传
查看原图
下载图片
图片链接
缩略图
原图
外链
专题
中国工农红军长征油画
相关图片
图为红军长征过草地的油画
0
0
场景的油画《红军过草地》,被收藏在中国军事博物馆和收录于教科书,使
0
0
这幅油画是当年红军
0
0
当代画家詹建俊一幅红军长征路上的超长油画长490厘米宽140厘米
0
0
长征油画众所周知,由于王明"左"倾路线的错误指挥,中央红军不得不于
0
0
这是画家李宗津描绘中国工农红军1935年5月在长征途中强夺大渡河上
0
0
长征的缩略史
0
0
初心(诗歌 作者/心曲)
0
0
油画中的红军长征,多图值得收藏
0
0
纪念红军长征胜利80周年美术作品展览
0
0
中国工农红军长征路线图1934~1935年间,中国南方大地上曾经十分活跃
0
0
红色藏品早期上币红军长征胜利60年套章原盒
0
0
随机推荐
觉得自己的脸型不好看,颧骨那块好高,呜呜呜 22岁的时候矫正牙齿拔了
0
0
我国2011-2021年gdp变化图.jpg
0
0
写美篇 跨过时间的门槛,站在崭新的起点,充满希望与挑战的2021年如一
0
0
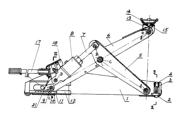
带自锁垂直升降液压卧式千斤顶-爱企查
0
0
谪仙吉他谱 g调附前奏-伊格赛听插图1
0
0
长着一张混血脸的明星_高伟光_袁泉_混血儿
0
0
14岁时的刘亦菲《金粉世家》中的白秀珠,傲娇可爱
0
0
图文:范玮琪独家做客--和黑人无话不谈
0
0
美猴王教案ppt
0
0
演员@胡杏儿佩戴蒂芙尼blue book高级珠宝系列schlumberger绿碧玺和
0
0
赵丽颖美图34
0
0
沈晓海做客《家庭演播室》 与李念高唱对台戏
0
0