八零图社
首页
最新
热门
排行
首页
最新
热门
排行
自然风光
动漫卡通
美食摄影
科技数码
人物写真
创意设计
壁纸背景
游戏原画
首页
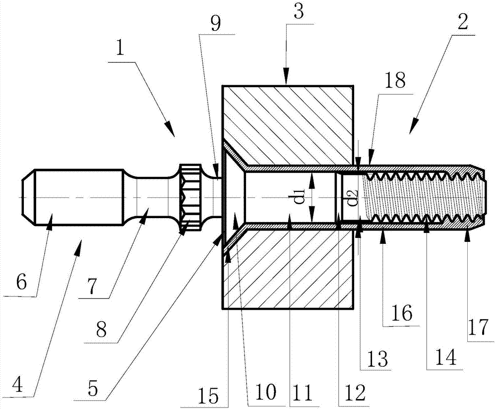
拉钉原理图
图片详情
一种安装铆钉的制作方法
0
浏览
0
喜欢
1000x825
尺寸
2026-03-13 05:59:42
上传
查看原图
下载图片
图片链接
缩略图
原图
外链
专题
拉钉原理图
相关图片
厂家现货 全不锈钢单鼓型抽芯铆钉半圆头单股拉铆钉3.2-4.8mmbb01
0
0
结构盲拉钉
0
0
重视拉钉丨拉钉多久该更换
0
0
一种数控机床用拉钉
0
0
金伯士拉钉枪分解图和操作方法#生活不会辜负每一个努力的人 - 抖音
0
0
bt50拉钉拉紧扭力多少?
0
0
威氏 锁扣型单把拉铆枪 鹰型铝合金拉铆枪 拉钉枪 铆钉枪 手动抽芯拉
0
0
刀柄拉钉的工作原理:拉钉一端是和机床卡口相连,一端是和刀柄相连,d
0
0
拉铆钉是利用虎克定律原理,首先根据铆钉钉杆直径选定铆枪头的孔径
0
0
刀柄拉钉的制造工艺
0
0
铆钉枪使用的平头拉钉的工作原理是什么速耐铆钉枪
0
0
铝开口扁圆头抽芯铆钉 拉钉 2.4 3.2 4.0 4.8.
0
0
随机推荐
成都表演培训哪家好 影视表演培训 包分配剧组就业_艾辰演出经纪有限
0
0
张蓝心真正男子汉# 立时挺拔如松,坐如溪.
0
0
胡明轩的妈妈年过五旬,却依然容颜不老,令人惊叹!
0
0
春新款宠物衣服宠物狗狗小型犬比熊博美泰迪拼色全包防水雨衣批发
0
0
刘欢搞笑头像_微信头像图片大全
0
0
《春华秋实》
0
0
刘亦菲三个年龄段对比照,颜值惊艳岁月无痕,果然看不出年纪_变化_作品
0
0
3m 7935超工程级反光膜48"*50y 蓝色
0
0
马卡龙色系口罩
0
0
【北京地铁·轨道交通】「高清·60测试」地铁1号线dkz4/dkz4g型地铁
0
0
玫瑰少年 -玫瑰少年简双手简单谱钢琴谱
0
0
2024胡润全球富豪榜发布马斯克重登全球首富钟睒睒连续4年蝉联中国
0
0