八零图社
首页
最新
热门
排行
首页
最新
热门
排行
自然风光
动漫卡通
美食摄影
科技数码
人物写真
创意设计
壁纸背景
游戏原画
首页
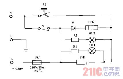
电火锅调温插头原理图
图片详情
电火锅是分不同温度档的,我想把温控器去了,改成直加热的,怎么接线?
0
浏览
0
喜欢
400x242
尺寸
2026-03-13 18:09:30
上传
查看原图
下载图片
图片链接
缩略图
原图
外链
专题
电火锅调温插头原理图
相关图片
电火锅的结构及工作原理_电火锅的结构
0
0
这是一幅电热锅电路图,整个电路图由温度调控器,发热器,指示灯,电阻
0
0
我想做一个加热的系统求个电路图.温度能达到100度以上并保持恒温.
0
0
如电吹风,电饭煲,电煎铛,电压力锅,电火锅等等
0
0
三角drg130节能调温多用电热锅电路图
0
0
简易调温器电路
0
0
保温电热锅电路图
0
0
千叶cp-16恒温式多用电热锅电路
0
0
美的gh401型豪华自动电炖锅
0
0
格兰仕cfk-120a自动电热锅电路图
0
0
怎样用电子万能表测量电炖锅发热圈好坏
0
0
电火锅功率调节电路
0
0
随机推荐
男生三七分偏分斜刘海发型帅气又小鲜肉 男生三七分偏分斜刘海发型
0
0
春季女生中分梨花头发型打造完美瓜子脸
0
0
《星露谷物语》(潘妮八心剧情):爬树
0
0
某地区6层建筑办公楼设计施工图纸_办公建筑_土木在线
0
0
高考好运主题壁纸
0
0
酷米粒一个走路赚钱的app-酷米粒注册跑量任务步骤流程
0
0
心肌梗死心电图图片
0
0
十二生肖动图动效动物
0
0
卡通动漫男生qq头像帅气个性 现在承诺就跟吃饭一样随便
0
0
六月雪怎样科学栽培与养护?
0
0
电视机 科技感 卡通电视 海报背景
0
0
儿歌蜜蜂做工flash, 关键词:儿歌简谱大全儿童歌曲简谱儿歌钢琴
0
0