八零图社
首页
最新
热门
排行
首页
最新
热门
排行
自然风光
动漫卡通
美食摄影
科技数码
人物写真
创意设计
壁纸背景
游戏原画
首页
招聘背景图片不带字
图片详情
关键词:招聘招募彩色几何海报背景 加入我们 创意字 人才 招人 招募
0
浏览
0
喜欢
1680x2518
尺寸
2026-03-12 00:19:52
上传
查看原图
下载图片
图片链接
缩略图
原图
外链
专题
招聘背景图片不带字
相关图片
招贤纳士海报广告背景
0
0
图片 艺术字体 > 【psd】 招聘信息展示psd分层h5背景 招聘 招聘信息
0
0
背景(1920x900)png招聘诚聘寻人启事海报背景(2200x3300)psdpng招聘
0
0
招聘海报h5背景
0
0
招贤纳士古风公司招聘广告背景
0
0
红色招聘云彩h5背景
0
0
简约几何图形招聘海报背景
0
0
红色卡通漫画手抓幕布招聘背景图
0
0
招贤纳士图片背景素材免费下载,图片编号129730_搜图123,soutu123.com
0
0
文艺招聘h5背景
0
0
校园招聘简约背景
0
0
招聘h5背景
0
0
随机推荐
韩系三七分男士发型
0
0
如今周冬雨的片酬也从当初《山楂树之恋》的15万,到《七月与安生》的
0
0
柑橘黄龙病威胁果农收成!
0
0
关于下雨的图片,高清图片
0
0
国字脸女生适合的长发梨花头烫发发型
0
0
鱼吃荷花
0
0
【blackpink】五周年4 1写真集 the album拆专
0
0
龙珠超 - 堆糖,美图壁纸兴趣社区
0
0
【还原】奈克瑟斯奥特曼第三十四集op
0
0
qq钱包只有10块了,别嫌少哦
0
0
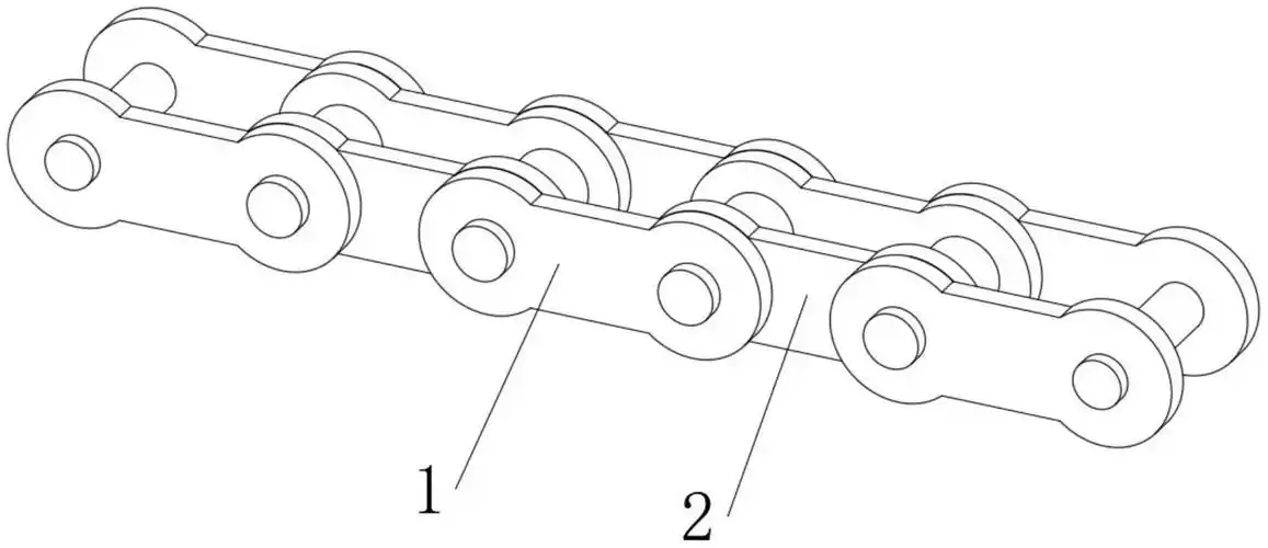
的链条,包括外链板与内链板,所述外链板与内链板均呈平行对称式结构
0
0
蝴蝶忍高清壁纸分享 #鬼灭之刃 #胡蝶忍 - 抖音
0
0