八零图社
首页
最新
热门
排行
首页
最新
热门
排行
自然风光
动漫卡通
美食摄影
科技数码
人物写真
创意设计
壁纸背景
游戏原画
首页
男生烫发发型种类
图片详情
乱中有型男士烫发韩系风格男士发型
0
浏览
0
喜欢
903x1102
尺寸
2026-03-12 05:15:42
上传
查看原图
下载图片
图片链接
缩略图
原图
外链
专题
男生烫发发型种类
相关图片
型男必备精选男士烫发发型每一款都很有型
0
0
男生烫发发型简单帅气很有型
0
0
男生烫发分享#男生发型#男生烫发#男生烫发蓬松小卷发#男生卷发
0
0
钢夹烫发,不同于锡纸烫容易炸的缺点,相对自然,但也是属于凌乱感发型
0
0
男生烫发发型图片(扫一扫自己脸型配发型)
0
0
男士发型烫发,2022男生烫发20款推荐
0
0
少年感十足烫发发型帅气清爽蓬松立体有型
0
0
男士烫头发型推荐
0
0
超级帅气的男士发型飞机头背头时尚烫发适合大多数男士
0
0
男生烫发的种类有哪些?如何选择适合自己的发型?看这三类就明白
0
0
男生烫发发型自然线条的发型最受欢迎
0
0
日系男士发型nice#日系的凌乱微分 |长头发不知道适合什么发型/可尝试
0
0
随机推荐
妈妈微信头像 好运荷花头像
0
0
抽象性logo设计的特征与方法
0
0
汪汐潮《蜀山战纪》剧照
0
0
汪小菲被曝已向大s和s妈道歉称自己手上还有证据
0
0
分手其实是一件好事~.那些失去的东西和离去的人都不重要,很多 - 抖音
0
0
服装设计服装手绘这样的礼服你心动了么
0
0
漫画色涂装 #高达 #红异端#二次元涂装 #模型 - 抖音
0
0
夏日小清新唯美治愈风景图,夏季清新唯美图片(夏日清新壁纸)
0
0
导航搜#金刚碑快乐村庄 ,停车到金刚碑停车场,步行5分钟到景区门口
0
0
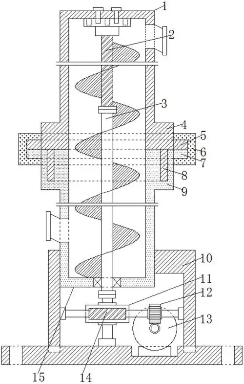
一种面粉垂直螺旋输送机
0
0
回顾郝蕾:爱情婚姻都有泪,带双胞胎儿子生活,离婚后和父亲和解|邓超
0
0
楚乔传第二部你们看吗?
0
0