八零图社
首页
最新
热门
排行
首页
最新
热门
排行
自然风光
动漫卡通
美食摄影
科技数码
人物写真
创意设计
壁纸背景
游戏原画
首页
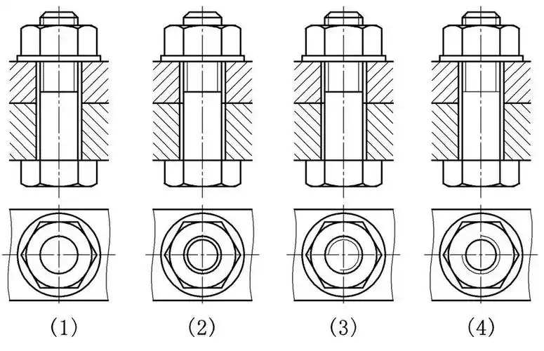
螺钉连接画法
图片详情
机械制图教程62螺纹连接件
0
浏览
0
喜欢
463x234
尺寸
2026-03-14 09:50:20
上传
查看原图
下载图片
图片链接
缩略图
原图
外链
专题
螺钉连接画法
相关图片
双头螺柱连接,螺钉连接画法#制图基础入门教学 #cad画图 - 抖音
0
0
以下正确的螺钉连接图是
0
0
螺钉连接 螺栓连接 螺柱连接
0
0
判断下列所绘制的螺钉连接的两视图中,正确的一组视图是().
0
0
螺钉连接画法图文详解
0
0
4, 问题:下列螺栓连接装配画法中正确的图形是
0
0
机械制图标准螺纹及螺纹紧固件画法
0
0
判断下列所绘制的螺钉连接的两视图中正确的一组视图是
0
0
图19-12 螺钉的连接画法
0
0
机械制图12螺纹紧固件2
0
0
cad机械制图螺钉画法
0
0
判断螺钉连接画法是否正确.
0
0
随机推荐
图,exo的银海
0
0
tvb女艺人名单截图(部分)龚嘉欣龚嘉欣,今年31岁,香港演技学院科班
0
0
宫颈癌鳞癌闭孔窝淋巴结转移
0
0
为什么林心如不敢和霍建华离婚不是因为爱情而是离婚成本太高
0
0
缪食林传统糕点系列包装设计
0
0
同一首歌(简化版)-孟卫东钢琴谱-环球钢琴网
0
0
原创偶像剧演成乡下小妹活动照粗腿抢镜沈月是如何成为女明星的
0
0
这自然离不开美食的"功劳"这里有许多特色小吃,但有六大美食,如果你不
0
0
超详解素描垂耳兔画法
0
0
霸道黑天鹅王子和高傲白天鹅公主9797#请不要过度解读,2月 - 抖音
0
0
表1 华为swot分析
0
0
颜丹晨专访|绽放跨界魅力 积累表演经验
0
0