八零图社
首页
最新
热门
排行
首页
最新
热门
排行
自然风光
动漫卡通
美食摄影
科技数码
人物写真
创意设计
壁纸背景
游戏原画
首页
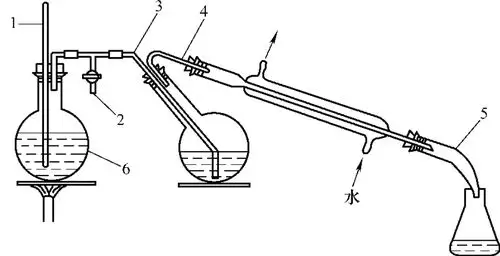
水上蒸馏和水汽蒸馏图
图片详情
水蒸气蒸馏装置的安装
0
浏览
0
喜欢
1280x720
尺寸
2026-03-13 09:58:30
上传
查看原图
下载图片
图片链接
缩略图
原图
外链
专题
水上蒸馏和水汽蒸馏图
相关图片
高中化学必修1-专题1第2单元第1课-物质的分离与提纯
0
0
水上蒸馏 设备稍复杂,但可减少水解作用. 3.
0
0
半微量水蒸气蒸馏装置水蒸气发生器与水蒸气导管之间应装上一个t形管
0
0
水蒸气蒸馏技术
0
0
水蒸气蒸馏ppt
0
0
常压减压与水蒸汽蒸馏
0
0
水蒸气蒸馏装置示意图
0
0
制蒸馏水的装置
0
0
4,蒸馏 可除去可溶性和不容性杂质,所得的水为 纯净水.
0
0
蒸馏法
0
0
蒸馏和萃取学案
0
0
水蒸汽蒸馏装置图
0
0
随机推荐
张蕾和老公王吉财
0
0
有谁知道这是张国荣的哪部作品?谢谢了
0
0
儿童节精选儿童发型50款
0
0
紫色的小花叫做什么花?
0
0
有这样宇航员系列的头像吗
0
0
的石头
0
0
油菜花美丽乡村画画图片大全乡村田园风景简笔画美丽乡村儿童画儿童画
0
0
() 咱们裸熊 自截可做头像 敲喜欢白熊 男友力max6161by:实果子酱
0
0
45岁侯勇再婚家乡设宴 新娘潘雨辰平安产女
0
0
素巴西烤鸭辣条大豆制品面筋辣片经典网红辣条零食零食5包素巴西烤鸭
0
0
华仁眼镜仑苍店开业了空前钜惠,错过今天,再等5年!
0
0
黑色昆虫简约动物素描手绘矢量素材
0
0