八零图社
首页
最新
热门
排行
首页
最新
热门
排行
自然风光
动漫卡通
美食摄影
科技数码
人物写真
创意设计
壁纸背景
游戏原画
首页
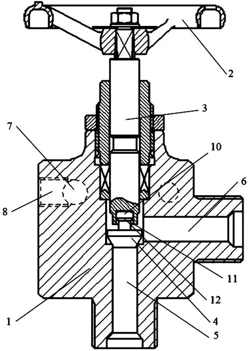
针型阀内部
图片详情
针型阀,角阀阀门三维动画,水泵三维动画
0
浏览
0
喜欢
1280x720
尺寸
2026-03-14 03:04:24
上传
查看原图
下载图片
图片链接
缩略图
原图
外链
专题
针型阀内部
相关图片
高压针阀选型与使用说明
0
0
j13w内螺纹针型阀
0
0
针阀
0
0
针型阀
0
0
j13w-160p 不锈钢内螺纹针型阀
0
0
进口承插焊针型阀
0
0
针型阀,包括:阀体,手轮,阀杆,阀瓣,所述阀杆与阀瓣置于所述阀体的内部
0
0
进口针型阀
0
0
针型阀规格型号,图片,原理,厂家
0
0
内螺纹针型阀
0
0
针阀的工作原理及结构示意图
0
0
各种类型针型阀的选用原则
0
0
随机推荐
脸部去掉扁平疣开始啦
0
0
【来自星星的你】饭制手机壁纸
0
0
iphone 壁纸 惊奇队长,超级英雄,dc漫画
0
0
创造营2021周柯宇
0
0
养的笔顺,养怎麼写_智典
0
0
上海大学
0
0
德国时尚博主 masha sedgwick 街拍 欧美风
0
0
非常稳妥且安全的决定,海啸预警也能在一定程度上提前预知海啸的到来
0
0
搞事情如何用别人的钱帮你预订游戏和各种宅物
0
0
思慕simushuiguo
0
0
象征财运很好的腰缠万贯痣位于后腰的位置,有这种痣的人属于天生的
0
0
纯手工大力马撒网纯铅坠吊好兜五米四指的网眼十三斤左右低价出售
0
0