八零图社
首页
最新
热门
排行
首页
最新
热门
排行
自然风光
动漫卡通
美食摄影
科技数码
人物写真
创意设计
壁纸背景
游戏原画
首页
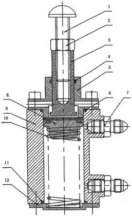
自卸车限位阀安装图
图片详情
详解自卸汽车液压系统及维修
0
浏览
0
喜欢
1212x1191
尺寸
2026-03-12 18:48:16
上传
查看原图
下载图片
图片链接
缩略图
原图
外链
专题
自卸车限位阀安装图
相关图片
自卸车用二位二通限位溢流阀-爱企查
0
0
详解自卸汽车液压系统及维修
0
0
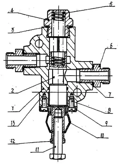
一种自卸车防卡气控限位阀的制作方法
0
0
适用豪沃油箱液压阀翻斗自卸车举升控制阀车厢pt其他
0
0
中顶自卸车液压原理及换向阀结构原理
0
0
自卸系统的二种阀(sf手动阀,jf举升阀,xf限位阀)与其他车型相比其结构
0
0
气动限位阀的工作原理图气动限位阀常用于自卸车的液压举升装置上,其
0
0
四川西华机动车司法鉴定所对肇事自卸车货箱自动举升原因鉴定
0
0
凝思系统如何调节分辨率自卸车制动系统中的干燥器有啥用如何调节气压
0
0
乘龙h58x4轻量化自卸车合规更能装
0
0
适配德龙f3000新m3000x3000自卸车海沃举升缸限压阀华春限位阀
0
0
一种自卸车限位阀装置的制作方法
0
0
随机推荐
类似这样的动漫壁纸,酷酷的,最好是女的.里面有骑士,龙什么的.
0
0
笑容美女可爱开心gif动图_动态图_表情包下载_soogif
0
0
摇滚乐队,美女,乐队,男人,黑色背景,背景
0
0
严浩翔叁重楼暨出道四周年演唱会
0
0
纹身黑桃防水男女持久花臂个性创意大图黑白身体彩妆
0
0
你今天喝了什么饮料?04用英文评论下呗
0
0
我们的生活充满阳光gif陈嘉南gif强颜欢笑gif无奈gif
0
0
奇石欣赏
0
0
解开沪上皇秦奋的神秘面纱王思聪膜拜原来他是这样的人
0
0
什么麦当劳换logo了
0
0
下面都是刚拿到超轻粘土时做的小动物 比较稚嫩哈 小
0
0
【女友视角】2.0恋爱vlog
0
0