八零图社
首页
最新
热门
排行
首页
最新
热门
排行
自然风光
动漫卡通
美食摄影
科技数码
人物写真
创意设计
壁纸背景
游戏原画
首页
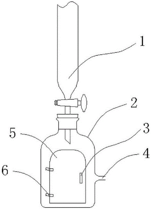
柱色谱实验装置图
图片详情
柱色谱是较经典的有机物分离技术
0
浏览
0
喜欢
645x737
尺寸
2026-03-13 10:06:43
上传
查看原图
下载图片
图片链接
缩略图
原图
外链
专题
柱色谱实验装置图
相关图片
三,基本操作:(含仪器装置和主要流程图) 1,柱色谱操作步骤:化合物的
0
0
又称 a target="_blank" href="/item/柱色谱技术/22242713" data
0
0
蒸馏瓶(50ml),普通蒸馏装置(或减压蒸馏装置),漏斗,色谱柱,硅胶薄层板
0
0
我和我的大学no113奇妙的实验课之旅
0
0
柱色谱化学实验室.
0
0
柱色谱实验操作方法
0
0
产品展厅 分析仪器 色谱 液相色谱(lc) 玻璃层析柱 公司名称 江阴金确
0
0
色谱柱是如何填装的?
0
0
色谱分析法基础知识
0
0
一种可拆分式多层色谱层析柱装置的制作方法
0
0
无水无氧柱色谱
0
0
本技术属于实验用品 ,具体涉及一种色谱柱减压装置
0
0
随机推荐
小猪佩奇动物名字 - 抖音
0
0
原创壁纸-今天你打卡了吗?
0
0
答案吉他谱-杨坤/郭采洁-《答案》g调原版弹唱六线谱
0
0
图文:女单张怡宁4-0胜李佳薇 变成了"斗鸡眼"
0
0
北欧日式实木床1.5m1.8米双人床主卧室床现代简约白色软包床
0
0
情迷但丁湾
0
0
感人微电影《梦中的妈妈》
0
0
刘晓洁与徐洪浩:演艺圈中的低调爱情与坚固婚姻 刘晓洁与徐洪浩,这对
0
0
《快乐星球》中的"安然"郭慧子
0
0
女生左手掌有痣代表什么(女生左手掌有痣代表什么意思图解)
0
0
百里守约铠
0
0
北欧宜家 宜家 高端品牌 高端轻奢美欧式五斗柜卧室实木抽屉收纳柜
0
0